2022-06-03 11:34:00
机械效率——人造卫星的奇迹
一、知识脉络图
二、知识点拨
(一)有用功和额外功
名称 | 定义 | 举例 | 关系 | 单位 |
有用功 | 对人们有用的、必须做的功 | 滑轮组提升重物时,对物体所做的功W有用=Gh | 焦耳(J) | |
额外功 | 对人们没用但不得不做的功 | 克服机械自重和自身部件摩擦而做的功 | ||
总功 | 人们使用机械时动力所做的功 | 包括通过机械对物体所做的有用功和克服机械自身重力和摩擦力所做的额外功 |
【说明】
有用功和总功的区别:
有用功是人们为了达到目的,无论采用哪种方法都必须做的功。在使用机械做功时,有用功等于机械对物体必须做的功,即等于不用机械而直接用手所做的功。为了完成有用功,在使用机械的同时,既要克服机械自身的重力做功,还要克服摩擦做功,这些并非人们需要,但又不得不做的功就是额外功。人们在达到一定目的的过程中,实际做的功等于有用功与额外功的总和,这个功叫做总功。
(二)机械效率
1.定义:有用功跟总功的比值叫做机械效率。
2.计算公式:
装置模型图 | |||
| Gh | Fs | |
在液体中提升重物 | Fs | ||
水平移动重物 | |||
沿斜面移动重物 | Gh | Fs |
【说明】G表示物体的重力,F表示作用在绳子自由端的拉力,h表示物体上升的高度,s表示自由端移动的距离,装置图只表示机械对应的使用类型,解题时应以实际模型图为准。
(三)机械效率的测量
名称 项目 | 测滑轮组的机械效率 | 测斜面的机械效率 |
原理 | ||
测量工具 | 刻度尺、弹簧测力计 | |
注意事项 | 必须匀速拉动弹簧测力计使钩码升高,保证测力计示数大小不变 | |
研究方法 | 控制变量法 | |
结论 | 1. 影响机械效率高低的因素:提升重物的重、动滑轮的重、摩擦(注意:绕线方法和重物提升高度不影响滑轮组的机械效率) 2. 具体结果:同一滑轮组提升的重物越重,机械效率越高,不同滑轮组提升相同的重物,动滑轮越重,摩擦越大,机械效率越低。 | 1. 斜面的机械效率与斜面的倾斜程度有关。斜面越倾斜,机械效率越高;2. 斜面的机械效率还与物体和斜面之间的摩擦有关,斜面越粗糙,摩擦力越大,机械效率越低。 |
(四)提高机械效率的方法和意义
机械效率是机械做功性能好坏的标志
1. 提高和改进机械效率的方法:(1)改进结构使之更加合理、轻巧;(2)按规定经常保养,使之充分润滑,令其处于良好运转状态。
2. 提高机械效率的具体做法:减小动滑轮重、减小绳子与滑轮之间的摩擦、增加物重等。
要提高斜面的机械效率,可以:(1)减小物体在斜面上受到的摩擦。例如用玻璃板替换木板;(2)增大斜面的倾斜程度。
能力提升类
【例1】小文同学采用如图所示的两种不同的方式将同一货物搬运到同一辆汽车上,下列说法正确的是( )
A. 甲种方法克服重力做功多
B. 乙种方法更省力
C. 两种方法的机械效率相等
D. 两种情况下,机械效率不等
一点通:根据功的原理,使用任何机械都不能省功,要么省力,要么省距离。且使用机械之后,不仅不能省功,反倒要多做功,也就是多做一部分额外功,这就导致用了机械比不用机械时,机械效率更低。而甲图中的斜面就是一种可以省力的机械。
A. 克服重力所做的功,就是W=Gh,也就是重力乘以重物被举高的高度,所以不管采用哪种方法,克服重力做的功都是一样的。故此项与题意不符。
B. 乙图是直接搬重物,所以人用的力就等于重物的重力;甲图是利用斜面来搬运重物,而斜面是省力费距离的一种机械。故甲图更省力,此项与题意不符。
C. 机械效率是有用功占总功的比率。而使用机械(甲图的斜面就是一种机械)与不使用机械(乙图)相比,多了机械带来的额外功,所以甲图的机械效率更低。此项与题意不符。
D. 由C项的分析可知,甲图的机械效率比乙图低。此项与题意相符。
答案:D
点评:本题的核心在于对功的原理的理解。甲图是使用机械,乙图是不用机械,然后从做功、省力、机械效率等几个方面对两图进行比较,关键是知道使用机械不省功。
【例2 】斜面是一种简单机械,生活中人们常常利用它来省力。小明想探究“斜面的机械效率与斜面的倾斜程度的关系”。于是他找来木块A、长木板B、三个高度不同的长方体C和一把弹簧测力计进行实验,实验装置如图所示。
(1)除上述器材外,小明要完成实验还需要的一种器材是 ;
(2)在实验过程中,应沿斜面向上拉动木块,使木块做 运动;
(3)实验数据记录如下表,则第3次实验时斜面的机械效率为 ;
(4)分析比较下表中的实验数据,可得到的结论是:斜面越陡, 。
实验次数 | 斜面倾斜程度 | 木块重G/N | 斜面高度h/m | 沿斜面的拉力F/N | 木块沿斜面移动的距离s/m | 斜面的机械效率 |
1 | 较缓 | 5 | 0.2 | 3.3 | 0.5 | 60.6% |
2 | 较陡 | 5 | 0.25 | 3.8 | 0.5 | 65.8% |
3 | 最陡 | 5 | 0.3 | 4.2 | 0.5 |
一点通:
(1)根据实验数据记录表可以发现,要测量斜面的高度和木块沿斜面移动的距离,就要使用长度的测量工具──刻度尺;
(2)要测量沿斜面的拉力,就要让木块做匀速直线运动,因为只有这样,弹簧测力计的示数才稳定,测量才够准确;
(3)使用斜面的目的是使物体的位置提高,需要克服的是物体的重力,所以W有用=Gh;总功就是沿斜面的拉力所做的功,所以W总=Fs;机械效率η=W有用/W总;第三次实验时,斜面的机械效率
;
(4)分析实验数据,看随着斜面倾斜程度的变大,机械效率是如何变化的,从而得出结论。由图中数据可知:斜面的倾斜程度越大,斜面的机械效率越高。
答案:
(1)刻度尺;
(2)匀速直线;
(3)71.4%;
(4)斜面的机械效率越高。
点评:此题主要考查学生的实验分析能力,以及斜面机械效率的计算,是一道好题。
综合运用类
【例3】小虎将二十本书装在一个木箱里搬上三楼,为了提高机械效率,以下做法可行的是( )
A. 小虎叫小熊一起将书抬上三楼
B. 小虎抱这箱书乘电梯上三楼
C. 小虎将书从木箱中拿出改为放入一个较轻的纸箱中搬上三楼
D. 小虎将书分两次用木箱搬上三楼
一点通:首先分清小虎做的哪些是有用功,哪些是额外功,然后再通过减小额外功,增加有用功的方法来提高机械效率。
由题意可知,小虎做的有用功是将二十本书搬上三楼,额外功是将木箱也搬上三楼,由、W总=W有用+W额外可得η=W有用/(W有用+W额外),当W有用一定时,W额外越少,η就越高。
因此小虎将书从木箱中拿出改为放入一个较轻的纸箱中搬上三楼可以提高机械效率。
答案:C
点评:要想提高机械效率,就应当减小额外功。而题目中小虎将木箱也搬上三楼做的是额外功,因此将木箱换成较轻的纸箱就可以了。
【例4】如图为测量滑轮组机械效率的实验装置,钩码总重6N。
(1)实验时要竖直向上拉动弹簧测力计,由图可知拉力大小为 N,若钩码上升的高度为8cm,则弹簧测力计向上移动 cm,该滑轮组的机械效率为 。
(2)若仅增加钩码的个数,该滑轮组的机械效率将 。(选填“增大”、“减小”或“不变”)
一点通:弹簧测力计若不匀速移动会影响读数的准确性,滑轮组在使用中,动滑轮由几根绳子承担,拉力移动的距离就是物体和动滑轮移动距离的几倍,计算滑轮组的机械效率时,关键是找准有用功和总功;使用滑轮组时,做的额外功不变,增加钩码的重,增大了有用功,因此机械效率会变大。
(1)实验中测拉力时,应在动滑轮下挂上钩码,线(绳)的自由端挂在测力计的挂钩上,手握测力计面板使重物匀速上升,读出测力计在移动时的示数为2.4N;
动滑轮由3根绳子承担,拉力移动的距离就是物体和动滑轮移动距离的3倍,钩码上升的高度为8cm,则弹簧测力计向上移动24cm;
有用功:W有=Gh=6N×8cm=48J
拉力做的总功:W总=Fs=2.4N×24cm=57.6J
滑轮组的机械效率为:
(2)使用滑轮组时,做的额外功不变,增加钩码的重,增大了有用功,则有用功和总功的比值增大,也就是机械效率变大。
答案:(1)匀速;2.4;24;83.3% (2)增大
点评:滑轮组的机械效率和物体重、动滑轮重有关,如果动滑轮重不变,物体越重,机械效率越高;如果物体重不变,动滑轮越重,机械效率越低。要是考虑绳重和摩擦力的话,绳重和动滑轮重都属于机械自身的重力,摩擦力越大也会使吊起同样重的物体时使用的拉力越大,使机械效率降低,总的来说,滑轮组的机械效率与物体的重力、摩擦力、机械自身的重力有关。要提高机械效率,在尽量减小摩擦和机械自身的重力的同时,应最大限度地增加被吊物体的重力。
思维拓展类
【例5】 小明用两个相同的滑轮组成不同的滑轮组(如图所示),分别将同一物体匀速提高到相同高度,滑轮组的机械效率分别为η1、η2。下列关系正确的是(忽略绳重及摩擦)( )
A. F1>F2,η1=η2 B. F1>F2,η1>η2 C. F1<F2,η1=η2 D. F1<F2,η1>η2
一点通:忽略绳重及摩擦,使用滑轮组时的拉力,左图承担物重的绳子股数n=2,右图承担物重的绳子股数n=3,而动滑轮重相同、提升的物体重相同,据此判断拉力的大小关系;
两图分别将同一物体匀速提高到相同高度,做的有用功相同;由题意知,忽略绳重及摩擦,所做的额外功为提升动滑轮做的功,由W额=Gh可知额外功相同,又因为总功等于有用功加上额外功,所以总功相同,故可以得出两图的机械效率相同。
解析:
∵忽略绳重及摩擦,承担物重的绳子股数n1=2,n2=3,
∴两图所用拉力:
∵滑轮相同,提升的物体重相同,
∴F1>F2;
∵两图分别将同一物体匀速提高相同的高度,
∴做的有用功相同,
∵忽略绳重及摩擦,所做的额外功W额=G轮h
∴额外功W额相同,
又∵W总=W有+W额,
所以总功相同,
∵
∴两图的机械效率η相同,即η1=η2。
答案:A
点评:本题表面上是一个选择题,实质上是一个小综合题,解本题的关键有两点:一是n的确定,二是忽略摩擦和绳重时,W额=G轮h。
【例6】如图所示,重物A是体积为10dm3,密度为7.9×103kg/m3的实心金属块,将它完全浸没在水中,始终未提出水面。若不计摩擦和动滑轮重且保持平衡,
求:
(1)作用于绳端的拉力F是多少?
(2)若缓慢将重物A提升2m,拉力做的功是多少?
(3)若实际所用拉力为400N,此时该滑轮的效率是多少?(g=10N/kg)
一点通:
(1)知道重物的体积和密度,利用密度公式和重力公式求金属块受到的重力;知道重物的体积(排开的水的体积)和水的密度,利用阿基米德原理求金属块受到的浮力;再利用动滑轮的特点求出拉力的大小。
(2)知道重物提升的高度可求出拉力移动的距离,又知道拉力大小,可利用功的公式求拉力做的功;
(3)求出滑轮对重物的拉力,知道重物提升的高度可求有用功,知道拉力和拉力移动的距离可求出总功,最后利用机械效率的公式求滑轮的机械效率。
答案:(1)重物A受到的重力:
,
重物A受到的浮力:
∵不计摩擦和动滑轮重,
∴重物A受到的拉力:
。
(2),
拉力做的功:
W=Fs=345N×4m=1380J。
(3)使用动滑轮做的有用功:
此时该滑轮的效率:
。
答:(1)作用于绳端的拉力F是345N;
(2)若缓慢将重物A提升2m,拉力做的功是1380J;
(3)若实际所用拉力为400N,此时该滑轮的机械效率是86.25%。
点评:本题考查的知识点比较多,有密度的计算、重力的计算、浮力的计算、有用功和总功的计算、机械效率的计算,并涉及动滑轮的使用,属于难题。
“使用任何机械都不省功”,这种对功的原理的表述具有普遍性。
所谓不省功有两层含义:一层是指对于理想机械来讲,没有摩擦和机械自重,在任何时候额外功都为零,有用功等于总功,机械效率为100%;另一层含义是,在实际情况下,摩擦和机械自重等总是存在的,额外功不可避免,有用功总是小于总功,机械效率总小于1。
滑轮组的机械效率与绳子的绕法无关,与提升物体的高度、速度无关,只与所提物体重力、动滑轮重力及摩擦有关。
自测题
(答题时间:45分钟)
一、选择题
1. 简单机械的机械效率高是指( )
A. 有用功多 B. 额外功少
C. 总功多 D. 有用功占总功的比例高
2. 甲升降机比乙升降机的机械效率高,它们分别把相同质量的物体匀速提升相同的高度. 则( )
A. 乙升降机提升重物做的有用功较多 B. 甲升降机的电动机做的额外功较多
C. 甲升降机的电动机做的总功较少 D. 乙升降机的电动机做的总功较少
3. 如图所示,小明分别用甲、乙两个滑轮把同一袋沙子从地面提到二楼,用甲滑轮所做的总功为W1,机械效率为η1;用乙滑轮所做的总功为W2,机械效率为η2。若不计绳重与摩擦,则( )
A. W1=W2,η1=η2 B. W1=W2,η1<η2
C. W1<W2,η1>η2 D. W1>W2,η1<η2
4. 机械效率永远小于1,这是因为( )
A. 动力总是小于有用阻力 B. 总功总是小于有用功
C. 总功小于机械克服所有阻力所做的功 D. 永远存在额外功
5. 两个完全相同的滑轮,其重力均为10N。分别用如图所示的两种方式,将重40N的物体匀速提升0.5m,下列判断正确的是(不计绳重与摩擦)( )
A. 力F1和F2大小相等
B. 两机械做的有用功相等
C. 两绳子自由端移动的距离相等
D. 两装置的机械效率相等
6. 如图所示,用甲、乙两个滑轮组来提相同的重物G,甲图中两个动滑轮共重5N,乙图中一个动滑轮重3N,不计摩擦和绳重,则两个滑轮组的机械效率( )
A. 甲比乙大 B. 甲比乙小
C. 一样大 D. 以上三种情况都有可能
7. 如图所示,不计绳重、阻力及摩擦,将重500N的货物提高1m,测得滑轮组的机械效率为60%;若用该滑轮组将800N的货物提升lm,则关于它的机械效率,下列说法中正确的是( )
A. 等于60% B. 小于60%
C. 大于60% D. 无法确定
8. 利用如图所示装置将重为100N的物体匀速从斜面的底端拉到顶端。已知斜面的长是5m,高是2m,拉力为F=50N,则该装置的机械效率为( )
A. 40% B. 50% C. 80% D. 100%
9. 两台机械所做的总功之比为2:1,它们的机械效率之比为3:4,则它们所做的有用功之比为( )
A. 2:1 B. 3:4 C. 8:2 D. 3:2
10. 用相同的滑轮和绳子分别组成如图所示的甲、乙两个滑轮组,把相同的重物匀速提升相同的高度。若不计绳重及摩擦,下列说法正确的是( )
A. 绳子受的拉力F1和F2大小相等,滑轮组的机械效率相同
B. 绳子受的拉力F1和F2大小不相等,滑轮组的机械效率不同
C. 绳子自由端移动的距离不相等,拉力对滑轮组所做的功相等
D. 绳子自由端移动的距离不相等,拉力对滑轮组所做的功不相等
11. (凉山州)两个完全相同的滑轮,分别以图中两种方式,将重为G的物体以相同的速度匀速竖直提升了10m,不计绳重和摩擦,以下判断正确的是( )
A. 甲的机械效率大于乙的机械效率 B. 甲的机械效率小于乙的机械效率
C. F1和F2做的功相等 D. F1做的功大于F2做的功
12. 如图所示,拉滑轮组绳子的自由端能使物体向上升。要提高滑轮组提升重物的机械效率(忽略摩擦力),以下方法可行的是( )
A. 换用一个较重的动滑轮 B. 换用一个较重的定滑轮
C. 换用一条较重的拉绳 D. 增加所挂重物的重量
13. 同学们在探究“影响滑轮组机械效率高低的因素”时提出了下列假设:
(1)滑轮组机械效率的高低可能与动滑轮重有关;
(2)滑轮组机械效率的高低可能与被提升物的物重有关;
(3)滑轮组机械效率的高低可能与物体被提升高度有关;
(4)滑轮组机械效率的高低可能与承重绳子的段数有关。
一位同学设计了如图所示的两个滑轮组,进行对比实验来验证提出的假设,则该实验验证的假设是( )
A. (1) B. (2) C. (3) D. (4)
二、填空题
14. 用一个定滑轮吊起160N的重物时所用的拉力是200N,则这个滑轮的机械效率为_________。
15. 如图所示,用动滑轮把重为G的物体竖直匀速上提一段距离。动滑轮的重力是0.6G,绳重和摩擦忽略不计。则手对绳的拉力F= ________G,机械效率是______。
16. 如图所示,用一个300N的拉力F匀速拉着重450N的物体上升了2m,则拉力F做的功是_________J,滑轮组的机械效率是_________。
17. 如图所示,同一个小球在拉力作用下,分别沿斜面OA、OB向上做匀速直线运动,拉力分别为F1、F2,斜面的机械效率分别为η1、η2,则拉力F1 _________ F2;机械效率η1 _________ η2。(均选填“大于”、“等于”或“小于”)
三、解答题
18. 在“探究动滑轮的机械效率”时,某小组利用自重不同的两个动滑轮进行了如图所示的三次测量,数据记录如下:
实验 序号 | 钩码 重/N | 动滑轮 重/N | 拉力/N | 钩码上升 的高度/m | 测力计移动 的距离/m | 有用功/J | 总功/J | 机械效率 /% |
① | 4 | 0.5 | 2.3 | 0.2 | 0.4 | 0.8 | 0.92 | 87.0 |
② | 4 | 0.9 | 2.5 | 0.2 | 0.4 | 0.8 | 1.0 | 80.0 |
③ | 6 | 0.5 | 3.3 | 0.2 | 0.4 | (a) | (b) | (c) |
(1)完成表格中第③次数据(a)(b)(c)处的计算,填在下面的横线上:
(a) _________ ; (b) _________ ; (c) _________ 。
(2)通过比较 _________ 的实验数据(选填实验序号),可知动滑轮的机械效率与动滑轮的自重 _________ (选填“有关”或“无关”)。
(3)小明认为“同一个机械,它的机械效率是一个定值”,通过比较 _________ 的实验数据(选填实验序号),可知他的观点是 _________ 的(选填“正确”或“错误”)。
19. 在“探究斜面的机械效率”实验中,小明猜想斜面的机械效率可能跟斜面的粗糙程度有关,小聪猜想可能跟斜面的倾斜程度有关。如图是他们设计的实验装置,下表是其中一位同学在其它条件一定时的实验数据。
实验序号 | 斜面的倾斜程度 | 物块的重力G/N | 斜面高度h/m | 沿斜面的拉力F/N | 斜面长s/m | 机械效率 |
1 | 较缓 | 10 | 0.2 | 5.5 | 1 | 36.4% |
2 | 较陡 | 10 | 0.4 | 7.0 | 1 | 57.1% |
3 | 最陡 | 10 | 0.6 | 8.5 | 1 | 70.6% |
(1)分析表中数据可得该实验探究的是_________(选填“小明”或“小聪”)的猜想,结论是:在其它条件一定时,斜面_________,机械效率越高。
(2)另一位同学为探究自己的猜想,设计了如下步骤。
①把一块长木板的一端垫高,构成一个斜面。
②用弹簧测力计沿斜面把一木块_________拉上去,进行相关测量,计算出斜面的机械效率。
③保持斜面的_________不变,改变斜面的_________,再进行相关测量,并计算出斜面的机械效率。
④比较两次_________的大小,即可验证猜想是否正确。
20. 某实验小组利用图示装置研究杠杆的机械效率,实验的主要步骤如下:
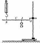
①用轻绳悬挂杠杆一端的O点作为支点,在A点用轻绳悬挂总重为G的钩码,在B点用轻绳竖直悬挂一个弹簧测力计,使杠杆保持水平;
②竖直向上拉动弹簧测力计缓慢匀速上升(保持O点位置不变),在此过程中弹簧测力计的读数为F,利用刻度尺分别测出A、B两点上升的高度为h1、h2
回答下列问题:
(1)杠杆机械效率的表达式为η=_________。(用已知或测量的物理量符号表示)
(2)本次实验中,若提升的钩码重一定,则影响杠杆机械效率的主要因素是: 。
(3)若只将钩码的悬挂点由A移至C,O、B的位置不变,仍将钩码提升相同的高度,则杠杆的机械效率将_________(选填“变大”、“变小”或“不变”)。
21. 如图所示,建筑工人用滑轮组把重720N的钢材运送到离地5m高的工作台,动滑轮重80N,绳重和摩擦不计。在拉力F的作用下,钢材匀速上升。求:
(1)拉力F的大小?
(2)滑轮组的机械效率?
22. 工人用如图所示的滑轮将重800N的货物提高2m,拉力F为500N,
求:(1)拉力所在的绳端移动的距离;
(2)滑轮的机械效率。
参考答案
一、选择题
1. 解析:根据机械效率的概念即可作出选择。
解答:机械效率是有用功与总功的比值,所以机械效率高是指有用功在总功中所占的比例高。选项A、B、C均不正确,选项D正确。
故选D。
点评:本题考查了学生对机械效率概念的理解,机械效率是反映机械性能优劣的重要标志之一。
2.
解析:根据题目可知甲、乙升降机所做的有用功相同,而甲升降机机械效率高说明额外功少,也就是所做的总功少。
解答:提升物体的质量和高度相同说明甲、乙升降机做的有用功相等,故A错误。既然甲的机械效率高,就说明甲做的额外功少,总功也少,故B、D错误,选C。
点评:解题的关键是要判断出甲、乙所做的有用功相等,甲的机械效率高则做的额外功少,总功也少。
3.
解析:根据总功等于有用功加上额外功,因乙滑轮是动滑轮,所以利用乙滑轮做的额外功多,可以比较出两种情况的总功大小;
再根据两种情况的有用功相同,利用即可比较出二者机械效率的大小。
解答:因为小明分别用甲、乙两个滑轮把同一袋沙子从地面提到二楼,所以两种情况的有用功相同;
当有用功一定时,利用机械做的额外功越少,则总功越少,机械效率越高。
又因乙滑轮是动滑轮,所以利用乙滑轮做的额外功多,则总功越多,机械效率越低。
即W1<W2,η1>η2,所以C选项正确。
故选C。
点评:此题主要考查功的计算和机械效率的大小比较这一知识点,较简单,关键是学生要明确哪些是有用功,额外功,总功,然后才能正确比较出两种情况下机械效率的大小。
4.
解析:使用机械可以省力,也可以省距离,但省力的要费距离,省距离的要费力;有用功和总功的比值叫机械效率,因为总功等于有用功加额外功,所以机械效率总小于1。
解答:A. 使用费力的机械,例如钓鱼竿,省距离,但要费力,故A错;
B. 使用机械时,总功等于有用功加额外功,所以总功总是大于有用功,故B错;
C. 使用机械时,总功等于有用功加额外功,所以总功大于机械克服所有阻力所做的额外功,故C错;
D. 使用机械时,不得不克服机械自重、克服摩擦做功,这些功叫额外功,所以永远存在额外功。
故选D。
点评:本题考查了学生对有用功、额外功、总功和机械效率的了解与掌握,属于基础题。
5.
解析:根据定滑轮和动滑轮的工作特点、有用功的计算及影响滑轮机械效率的相关因素,分析各选项从而判定正确结果。
解答:A. 图1为定滑轮,不能省力(不考虑绳重和摩擦),F1=G,图2为动滑轮,省一半力(不考虑绳重和摩擦),
。不符合题意;
B. 滑轮提升重物时,根据公式W有用=Gh可得两机械将重40N的物体匀速提升0.5m时有用功均为20J,符合题意;
C. 图1为定滑轮,绳子自由端移动的距离s1=h=0.5m,图2为动滑轮,省力费距离,s2=2h=1m。不符合题意;
D. 图1为定滑轮,其机械效率为100%(不考虑绳重和摩擦),动滑轮在提升物体的过程中要对动滑轮做额外功,效率小于1,不符合题意。
故选B
点评:本题考查了定滑轮和动滑轮的特点,以及机械效率的计算。在不考虑摩擦和绳重时,滑轮的机械效率可以使用公式来计算。
6.
解析:任何机械本身都受到重力的作用,做相对运动的零件间又存在摩擦,所以使用任何机械,除了做有用功外,都不可避免地要做额外功,这时动力所做的总功等于有用功加额外功,机械效率是指有用功占总功的百分比,由题图可知,克服重力所做的功为有用功,甲、乙两个滑轮组提相同的重物G,可利用公式W有用=Gh判断有用功的关系,不计绳重和摩擦,可知提升重物做的额外功为W额=G轮h,判断额外功的关系,最后利用公式η= 判断机械效率的大小。
解答:
∵甲、乙两个滑轮组提相同的重物G,
∴由公式W有用=Gh可知,
使用甲、乙两个滑轮组所做的有用功相等,
∵甲图中两个动滑轮共重5N,乙图中一个动滑轮重3N
∴由公式W额=G轮h可知,
使用甲、乙两个滑轮组所做的额外功为W额甲>W额乙,
从而由公式η= 可知,
η甲<η乙。
故选B。
点评:本题考查了有用功、额外功、总功、机械效率的计算。不计绳重和摩擦,利用好提升重物做的额外功W额=G轮h是解本题的关键。
7.
解析:机械效率是指有用功与总功的比值,此题关键是看有用功与总功的比值发生了怎样的变化。
解答:此题中滑轮组没有发生变化,所以在此过程中所做的额外功不变,由于货物的重力增加,所以有用功增大,因此有用功在总功中所占的比值也增大。
故选C。
点评:此题不是直接考查滑轮组的机械效率,而是通过货物重力的变化来考查对机械效率的理解。
8.
解析:斜面上装一个动滑轮,已知物体的重力和物体升高的高度,根据公式W=Gh可求有用功;已知拉力的大小和动滑轮上绳子的段数,根据公式W=Fs可求总功;有用功与总功的比值就是机械效率。
解答:有用功W有用=Gh=100N×2m=200J;
总功W总=Fs=50N×2×5m=500J;
机械效率×100%=40%。
故选A。
点评:本题考查有用功、总功和机械效率的计算,关键是公式及其变形式的灵活运用,重点是知道动滑轮和斜面的工作特点。
9.
解析:已知总功和机械效率的比值,根据公式换算可求有用功之比。
解答:。
故选D。
点评:本题考查机械效率的计算及其变形公式。
10.
解析:由滑轮组的结构知道承担物重的绳子股数n,则绳子自由端移动的距离s=nh;把相同的重物匀速提升相同的高度,做的有用功相同;不计绳重及摩擦,利用相同的滑轮和绳子提升相同的高度,所做额外功相同;而总功等于有用功加上额外功,可知利用滑轮组做的总功相同,再根据机械效率公式判断滑轮组机械效率的大小关系。
解答:不计绳重及摩擦,
∵拉力F=(G物+G轮),n1=2,n2=3,
∴绳子受的拉力:
F1=(G物+G轮),F2=(G物+G轮),
∴F1≠F2,
∵动滑轮重相同,提升的物体重和高度相同,W额=G轮h,W有用=G物h,
∴利用滑轮组做的有用功相同、额外功相同,总功相同,
∵,
∴滑轮组的机械效率相同,故A、B错;
∵绳子自由端移动的距离s=nh,n1=2,n2=3,提升物体的高度h相同,
∴s1=2h,s2=3h,
∴s1≠s2,
故C正确、D错。
故选C。
点评:本题考查了使用滑轮组时n的确定方法,有用功、额外功、总功的计算方法,不计摩擦和绳重时拉力的求法;解题关键在于确定额外功相等。
11.
解析:在不计绳重和摩擦时,机械效率与物重和动滑轮重有关:物重一定时,动滑轮越重,机械效率越低。竖直方向对物体做功,克服的是物重,在物重相同时,不计绳重和摩擦,使用定滑轮时,F=G,W=Gh;使用动滑轮时,F>G,W>Gh。
解答:不计绳重和摩擦,甲图使用定滑轮时可以认为不做额外功,机械效率等于1;乙图使用动滑轮时,除提起物体外,还必须提起动滑轮,对动滑轮做的是额外功,所以机械效率一定小于1。故A正确,B错误。
甲、乙两图对物体做的功是相同的,但乙图拉力F除了对物体做功外,还要对动滑轮做功,所以做的功要多一些。故C、D错误。
故选A。
点评:解决此题的关键是熟悉影响机械效率的因素和功的计算公式。
12.
解析:要解答本题需掌握:增大和减小滑轮组机械效率的方法有哪些。
解答:对同一滑轮组来说,提高机械效率的方法是:增加提升的物重或者减轻动滑轮的重力。而定滑轮和绳子的重力都不会影响滑轮组的重力。故A、B、C错误。
故选D
点评:本题主要考查学生对改变滑轮组机械效率的方法的了解和掌握。
13.
解析:(1)影响滑轮组机械效率的因素有被提升物体的重力、动滑轮重力、绳子重力和摩擦等;
(2)比较两个图中的相同因素和不同因素,可知研究的是机械效率与不同因素的关系。
解答:(1)比较两图发现:绳子段数相同,动滑轮重相同,提升高度也相同,只有被提升物体的重力不同;
(2)结合控制变量法的思想,可知该实验装置探究的是滑轮组的机械效率与被提升物体的重力的关系。
故选B。
点评:(1)运用控制变量法探究物理实验时,一定要抓住相同因素和不同因素;
(2)结论的一般形式是:在(相同因素)相同时,(不同因素)越( ),(研究的物理量)越( )。
二、填空题
14.
解析:定滑轮不省力,只能改变力的方向,对重物做的功是有用功,拉力做的功是总功,机械效率就等于有用功除以总功。
解答:
。
故答案为:80%
点评:本题考查定滑轮的特点和定滑轮的机械效率。
15.
解析:用动滑轮提升物体时,物体和动滑轮由两段绳子承担,绳子自由端的拉力:F=(G物+G动),绳子自由端移动的距离:s=2h。
知道物体重力、物体升高的距离,绳子自由端的拉力、绳子自由端移动的距离,可求出有用功、总功、机械效率。
解答:用动滑轮提升物体时,物体和动滑轮由两段绳子承担,
所以,F=(G物+G动)=(G+0.6G)=0.8G。
故答案为:0.8;62.5%
点评:对于滑轮组的机械效率问题,要明确直接提起物体时做的功是有用功,用机械提起物体时,绳子自由端的力做的功是总功。
16.
解析:由图中滑轮组的结构可知承担物重的绳子股数n=2,重物上升h,则拉力端移动的距离s=2h,求出拉力端移动的距离,知道拉力大小,可求出总功W总=Fs;
知道物重G和升高的高度h可求出有用功W有用=Gh;再根据机械效率的公式求滑轮组的机械效率。
解答:由图可知,n=2,
∵h=2m,
∴s=2h=2×2m=4m;
W总=Fs=300N×4m=1200J,
W有用=Gh=450N×2m=900J,
滑轮组的机械效率:
故答案为:1200;75%
点评:本题考查了使用滑轮组时有用功、总功、机械效率的计算方法,其中由图得出n=2,计算出s=2h是解本题的关键。
17.
解析:根据斜面的材料相同时,斜面倾角越小,越省力,即可判断F1、F2的大小,因斜面OA>OB,所以沿斜面OA拉小球时所做的额外功多,从而可知W1>W2,再利用判断机械效率η1和η2的大小。
解答:由图可知斜面OA的倾角小于斜面OB的倾角,因斜面的材料相同时斜面倾角越小,越省力,所以拉力F1小于F2;
因斜面OA>OB,所以沿斜面OA拉小球时所做的额外功比沿斜面OB拉小球时所做的额外功多,二者所做的有用功相同,所以W1>W2,
由η=×100%可知η1<η2。
故答案为:小于;小于
点评:本题可从斜面的材料相同时,斜面倾角的大小来判定F1、F2的大小,但如果用W总=Fs来判定二者总功的大小,就行不通了,因拉力F1小于F2;而OA大于OB,所以只能用沿斜面OA拉小球时所做的额外功多从而得出W1>W2,然后才可比较出η1和η2的大小。
三、解答题
18.
解析:(1)有用功等于钩码重力和钩码上升高度的乘积,即W有用=Gh;总功等于拉力和测力计移动距离的乘积,即W总=Fs;机械效率等于有用功和总功的比值,即η=×100%。
(2)研究动滑轮机械效率与动滑轮自身重力是否有关时,应控制提升钩码的重力相同,改变动滑轮重力。
(3)同一个机械,额外功基本上不变,当提升的物体重力变化时,有用功在总功中占的比值就变化,机械效率也随之变化。
解答:(1)第③次实验的数据中,有用功W有用=Gh=6N×0.2N=1.2J,总功W总=Fs= 3.3N ×0.4m =1.32J,机械效率
(2)①②两次实验中,钩码的重力相同,动滑轮的重力不同,机械效率也不同,因此探究的是机械效率与动滑轮自重的关系;
(3)比较①③,同一个机械,动滑轮重力不变,提升的物体重力不同时,机械效率也不同,提的物体越重,机械效率越大。
故答案为:(1)1.2、1.32、90.9(或90.91或91);(2)①与②、有关;(3)①与③、错误。
点评:(1)滑轮组的机械效率与提升物体的重力、动滑轮重力、绳子段数及摩擦有关;
(2)同一滑轮组,提升物体的重力越大,机械效率越大。
19.
解析:(1)表中数据中不变量是物块的重力和斜面的粗糙程度,变量是斜面的倾斜程度,机械效率也不相同;
(2)探究斜面机械效率与斜面粗糙程度的关系,应控制斜面的倾斜程度不变,改变斜面的粗糙程度,根据记录的数据计算机械效率,验证猜想。
解答:(1)数据中,斜面的倾斜程度不同,机械效率也不同,随着倾斜程度的变大,机械效率也随着变大,因此探究的是机械效率与斜面倾斜程度的关系;
(2)小明要想验证他的猜想──机械效率与斜面粗糙程度的关系,就应控制物块重力和斜面倾斜程度不变,用弹簧测力计匀速拉动物块,根据记录的数值,计算出机械效率的大小,通过分析比较得出实验结论。
故答案为:(1)小聪、越陡;
(2)匀速、倾斜程度、粗糙程度、机械效率。
点评:影响斜面机械效率的因素有物块重力、斜面倾斜程度和斜面粗糙程度,物块越重、斜面越陡、斜面越光滑,机械效率越大。
20.
解析:(1)使用杠杆克服钩码的重力做功,有用功等于克服钩码重力做的功,总功等于弹簧测力计的拉力做的功,机械效率等于有用功和总功的比值;
(2)机械效率是有用功和总功的比值,它反映了有用功在总功中所占比例的大小,也反映了额外功所占比例的大小,影响机械效率的因素从有用功和额外功两方面考虑;
(3)将钩码的悬挂点从A点移至C点,改变了钩码重力的力臂,根据杠杆平衡条件分析,即改变了弹簧测力计的拉力,改变了弹簧测力计的拉力做功的多少,改变了机械效率的高低。
解答:(1)有用功为W有=Gh1,总功W总=Fh2,则机械效率的表达式
(2)有用功是提升钩码所做的功,额外功主要是克服杠杆重力做的功,影响机械效率的因素主要是有用功和总功的比值;提升的钩码重一定说明有用功一定,所以影响杠杆机械效率的主要因素是杠杆自身的重力。
(3)钩码的悬挂点在A点时,由杠杆的平衡条件得G•OA=F•OB;悬挂点移至C点时,由杠杆的平衡条件得G•OC=F•OB,经对比发现,由OA到OC力臂变大,所以拉力F也变大,杠杆提升的高度减小,额外功减小,因此杠杆的机械效率变大。
故答案为:(1)×100%;(2)杠杆的自重;(3)变大。
点评:本题考查杠杆机械效率的测量。应把握有用功、总功的计算方式,明确机械效率的表达式,知道提高机械效率的方法。
21.
解析:机械效率η=×100%,这个公式的物理含义就是利用机械做功时,人所做的功有一部分会消耗在机械的摩擦、机械自重等因素上,这一部分功就是额外功,而只有一部分功能真正用到我们想用的地方,这一部分功就是有用功。
所以,所谓的总功就是人在使用机械时,人所做的功。即W总=Fs,F是手用的力,s是绳端移动的距离。
所以,所谓的有用功就是人在使用机械时,机械对物体所做的功,如本题就是滑轮组把钢材给举高了,举高钢材所做的功就是有用功。即W有用=Gh,G是钢材的重,h是钢材被举高的高度。
解答:
(1)本题中,因为已知绳重和摩擦不计,而拉钢材和动滑轮的绳子有两段,要注意这两段绳子是把动滑轮和钢材一起拉起来的,所以所用的力就是动滑轮和钢材二者重力之和的二分之一。即。
(2)因为有两段绳子在拉钢材,所以绳端上升的距离s就是钢材上升距离的两倍,即s=2h;同时手的拉力已经求出,故总功W总=Fs=F×2h。而有用功就是拉升钢材所做的功,即W有用=Gh。
(3)有用功和总功都求出来之后,最终的机械效率就是有用功除以总功,即,故本题的完整解答如下:
(1)
×(720N+80N)=400N
(2)∵有两段绳子在拉钢材∴s=2h=2×5m=10m
W总=Fs=400N×10m=4000J
W有用=Gh=720N×5m=3600J
答:(1)拉力F为400N (2)机械效率为90%
点评:关于机械效率的计算,首先要理解哪个是有用功,哪个是总功。具体到滑轮组的机械效率计算,还要注意一点的就是绳端的移动距离和物体上升的距离一般只会知道一个,另一个就要根据由几段绳子提升来算出。
22.
解析:已知提升的高度,可求拉力移动的距离。已知拉力可求总功,已知重力和高度可求有用功,根据机械效率公式算出机械效率。
解答:(1)s=2h=2×2m=4m
答:拉力所在的绳端移动的距离为4m。
(2)
答:滑轮的机械效率为80%。
点评:本题考查动滑轮的工作特点以及机械效率的计算。
相关推荐
友情链接
Copyright © 2023 All Rights Reserved 版权所有 北京物流信息联盟
