北京物流信息联盟

仓库前置:上天和入地

2022-04-11 11:18:46


在现代零售环境中,仓库的前置变得越来越重要。


来源丨综合国际电商消息


这些年,人们购物方式的转变将传统零售业逼进了死胡同,各类商超百货都或多或少因电商的冲击出现业绩下滑。但事实上,电商对零售业的冲击可能只是假象,缺乏创新才是他们走向衰败的根本原因。美国零售巨头沃尔玛似乎把这一点看得很清楚。



今年6月,沃尔玛在美国多个州的超市停车场测试自动售货亭,占地面积约20x80英尺,用户可在下单24小时后前来取货,服务不收取费用,不过在线订单额需高于30美元。而日前,沃尔玛又推出了一个“自助取货塔(pickup tower)”服务,并表示未来几个月内要将这种设备推广至百余家沃尔玛超市内。


(pickup tower)


据沃尔玛官方介绍,其正在推广的巨型自助服务取货塔(pickup towers)旨在帮助用户直接在店内取走线上订单商品,目前已在20个实体店内架设这种取货塔,并计划在未来几个月内将其覆盖至百余家线下店铺。


目前,外媒BinessInsider去体验了一下位于维吉尼亚州一家沃尔玛超市内的自助取货塔,并表示被这次便捷的提货体验惊到了。我们也跟着一起去看看吧!


据悉,BinessInsider此前还曾体验过沃尔玛早些时候推出的店内提取线上订单的服务,不过由于提取柜在超市的最里面,整个过程耗时半小时之久。从消费者角度来看,并不会感觉到非常便利。但这一次,其表示,进出店铺竟花费了不到一分钟。



首先,消费者需要通过沃尔玛官网在线订购商品,并选择店内自取选项,之后,用户会收到来自沃尔玛的邮件,告知其订单商品已备好。


当到达店内时,你会发现取货塔距离入口只有几步之遥,并且它的尺寸也让人无法忽视,足足有16英尺高,8英尺宽。



前去取商品时,它会提醒你需要扫描条形码或输入订单号,而订单条形码就附在沃尔玛发送的邮件中。扫描时间大约在5秒内,屏幕上方有一个隐藏的分隔间亮起,此时能看到传送带以及上面的纸箱。随后,透明的玻璃门打开,用户便可取走打包好的商品。



BinessInsider表示:“整个过程下来还不到10秒,而据沃尔玛官方表示这个自助取货塔的提取过程大约需要花费45秒,所以对于10秒这个时间还是比较意外的,而这也是我们在沃尔玛最便捷的一次购物体验。”

为了不断提升客户体验,保持沃尔玛的竞争力,沃尔玛在快速配送服务方面的探索可远不止这些,这次可真是闹上了天。


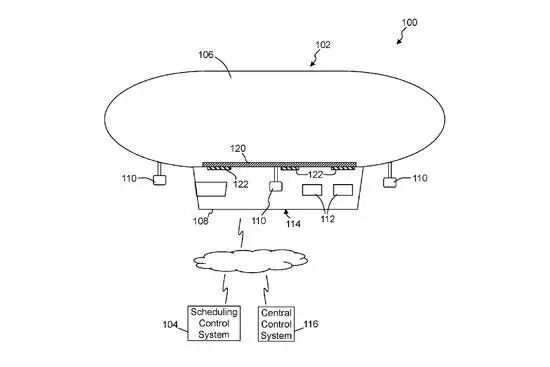
另外据了解,沃尔玛已在美国申请了“漂浮仓库”(floating warehouse)专利。它像一个飞艇,在500-1000英尺(300米以上)的高空中漂浮,需要先在里面放进一定数量的存货,再依照用户需求选择合适的空中位置安放。它既可自主运行,也可通过飞行员遥控操作,顾客下单后再由停放在仓库里的无人机负责送货上门。


(沃尔玛“漂浮仓库”专利图示)


这可能是沃尔玛将数字化业务推向更高水平的一个最新举措。而在此之前,其竞争对手亚马逊也曾申请过一个类似项目的专利——“空中物流中心”(airbone fulfillment centers),可搭载大量的货品和带有温控系统的无人机,以期实现大规模、长距离运输的无人机发货功能。


(亚马逊的“空中物流中心”专利图示)


(亚马逊的无人机配送)


那么,两大巨头都在追逐的这种可移动空中无人仓库到底牛在哪里?它背后的逻辑又是怎样的呢?


“在现代零售环境当中,仓库的前置变得越来越重要。一位业内人士向记者指出,简单说就是把仓库设在离消费者更近的地方,可能是某个办公楼,可能是某个社区,也可能是直接把零售门店附以仓库功能,用户下单后,能够尽可能在最短的距离和时间内送货上门。


前置仓也是在国内被称为新零售样本的盒马鲜生所采取的仓配模式。它的每个门店都是一个中小型的仓储配送中心,,也能够覆盖最后一公里。消费者下单后,商品从附近的零售店里发货,而不是从远在郊区的某个仓库发货。这便是支撑它在门店3公里范围内可以做到30分钟送达的重要前提。


沃尔玛和亚马逊的可移动仓库好比一种更为极致的前置仓模式,它把仓库建在空中,距离客户更近了。你下单之后,无人机会选择最快捷的路径把商品运送给你,全程无阻碍、耗能低。”上述业内人士向记者谈道。


在空中漂浮着的可移动仓库配上无人机,不仅解决了最后一公里的距离问题,也解决了仓库的空间问题,以及物流运输途中的交通问题。



正如沃尔玛“漂浮仓库”专利的描述:“为客户提供更多方便是现代零售必须持续解决的问题。而客户服务的一个方面就是产品的可得性,这在某种程度上取决于产品的分销和配送。分销和配送的方法很多,可是将产品送到一个固定送货地点会引起不必要的延误,并增加成本。”


据悉,“漂浮仓库”可以帮助沃尔玛降低在线订单的物流配送成本,尤其体现在“最后一公里”上。因为这个环节通常是找第三方物流公司来完成。而为了节省这一笔开支,很多零售商都会鼓励消费者自己到附近的门店去取货。但现在,由无人机来完成这一步,既满足了节约物流成本的需求,又可以为消费者提供更多方便。


与此同时,与传统仓库只能覆盖一定范围的周边地区相比,这种可移动的仓库能服务更广泛的地区,允许沃尔玛大幅扩张销售区域。


市场研究机构Sanford C.Bernstein的一位分析师对此评价道:“在消费者的多样化需求下,物流系统中的柔性部分可以使整个流程更高效。


当然,在顾客体验、配送成本上优势很明显的“漂浮仓库”,除了技术上的挑战之外,运营的难度也是极大的,包括:1、由于订单的不确定性,需要做出更精准的销售预测;2、它是一个类似飞艇的东西,能承载的货量是有限的,因此存在如何及时补货的问题;3、使用无人机进行配送还会涉及一系列与无人机相关的安全与信任问题等等。


任何一项新技术、新模式都需要接受时间的考验,但不可否认,这种不同以往的仓配模式为众多零售商的升级与创新提供了一个新思路。


可以期待一下,

沃尔玛和亚马逊这两家零售巨头,

究竟谁会先把空中可移动仓库的构想变成现实。

请留言评论你的观点

?


如需加入RG新零售社群

请添加管理员备注RG新零售



精选阅读



  1. “私蜜微便利”领跑2017新零售

  2. 中国新零售白皮书

  3. 无人值守便利店从“搅局”变为“定局”

  4. 无人超市未来将出现在所有标准化零售终端

  5. 来伊份2300家门店是一副新零售的好牌

  6. 茶馆、诚品和“无人超市”的关联

  7. 微信品牌形象店 WeStore 开张了



友情链接

Copyright © 2023 All Rights Reserved 版权所有 北京物流信息联盟