北京物流信息联盟

浙江工业大学科技成果推介,有你想要的技术吗

2022-08-15 12:51:43


桐庐县科技成果发布说明


通过产学研合作,企业借用“外脑”和“资源” 提升企业研发能力,实现“国内外技术桐庐用”,为创新发展注入活力和加速度。

政策链接

桐庐县科技成果转化与合作政策

1.鼓励科技成果转化与合作。(1)鼓励企业与高校科研院所开展产学研用合作,经技术合同登记部门备案登记,按企业实际支付技术合作费用的20%进行补助,通过桐庐科技大市场促成的技术合作补助标准提高5个百分点,单个企业当年最高限额50万元。(2)加大对技术成果转移服务的支持力度。对促成技术成果向我县企业转移的技术经纪人,在企业完成技术合同登记后,按实际支付额的1%予以奖励,当年累计奖励每人不超过5万元。2.鼓励使用创新券。为企业开展检验检测、文献检索、技术查新、技术服务、技术咨询、技术开发、技术转让等科技创新创业活动,创新券按实际支付额50%予以补助,单个企业当年最高限额10万元。

                         ——摘录《桐庐县人民政府关于推动科技创新和人才工作的意见》


桐庐县科技局常年面向企业征集技术难题,开展科技成果推介会,促进校企合作对接。联系电话:64601750




浙江工业大学专利推介

1

一种钢表面高硬铝钛陶瓷膜的制备方法

用模具加工成型零件具有效率高、质量好、成本低、省材料、稳定性好等一系列优点,因而模具已成为现代加工制造业规模生产不可缺少的工艺装备,在产品生产的各行各业中发挥着极其重要的作用。硬质涂层具有表面减摩、耐磨作用,可以改善刀具、模具及机械零部件等的可靠性和寿命,实现节能和提高生产效率的目的。近十几年来,硬质涂层的应用作为提高刀具、模具等产品耐磨性和使用寿命的重要途径,已得到越来越多的研究和应用。

本发明涉及一种钢表面高硬铝钛陶瓷膜的制备方法,所述制备方法包括以:将需要镀膜刚才进行除油、除锈干燥;将预处理后的钢材进行离子镀铝钛;然后进行氧化处理,在钢表面形成高硬度Al2O3/TiO2复合陶瓷膜。本发明生产设备简单,易实施,预处理简单,生产效率高,成本低,对环境无污染;制得的钢材表面铝钛陶瓷膜与基体结合强度高,膜层的硬度高于HV800,耐磨性能好,抗高温氧化性能好;陶瓷膜厚度均匀,陶瓷相为稳定相,过程为不可逆。

专利号:201410203998.5

2

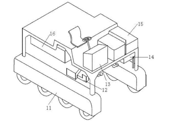
 拉丝模夹紧装置

拉丝模,是用于钢丝拉拔成型的模具。工作时,需要通过夹紧装置对其进行固定,并要求拆装方便、便于更换和维护。目前关于拉丝模的夹紧装置很少,并且在工作时不能完全地限制拉丝模的自由度,因此不能很好地满足要求。

为了克服现有拉丝模夹具存在的结构复杂、制造难度大且拉丝模自由度不能很好得到限制的问题,本发明提供一种可以完全限制拉丝模自由度、结构简单、安全可靠、易于制造且拆装方便的拉丝模夹紧装置,包括底座,所述的底座上设有滑动槽;所述的底座上从前之后依次固设有带有出丝通孔的前档板和第一入丝通孔的后挡板,且所述的后挡板上设有第一紧钉螺栓;所述的前挡板和后挡板左右两侧之间分别固设有导杆,所述的导杆上设有第二入丝通孔的后压板,所述的后压板设置在所述的前挡板与后挡板的底面分别设有滑动块;所述的底座上设有左固定板和右调整板,所述的右调整板上安装有第二紧钉螺栓;所述的前挡板、后压板、左固定板和右调整板围合的空间内安装有拉丝模。本发明能够完全限制拉丝模自由度,结构简单、安全可靠、易于制造且拆装方便。

专利号:201410421038.6

3

 一种不锈钢氧化层清洗剂及其制备方法和应用

不锈钢生产过程中不可避免地会产生氧化层,氧化层不仅影响美观,还会影响不锈钢进一步的加工处理,不锈钢氧化层的去除已成为不锈钢加工中不可缺少的步骤。目前使用的不锈钢氧化层清洗剂基本以无机酸为主,包括硝酸、盐酸、磷酸、等。无机酸具有较强的腐蚀性,可以达到清洗不锈钢氧化层的目的,但是以无机酸为主的不锈钢氧化层清洗剂使用寿命较短,废水产生量大,并且无机酸环境降解性差,环境污染严重。在环保减排的压力下,含较高比例无机酸的不锈钢氧化层清洗剂在使用中逐渐表现出一定的局限性。有机酸虽然具有较好的生物降解性,但是由于其酸性较弱,单独以有机酸提供酸性环境清洗不锈钢氧化层,效果基本较差,并且成本相对较高。

本发明公开了一种不锈钢氧化层清洗剂及其制备方法和应用,所述不锈钢氧化层清洗剂由一下组分组成:30%-50%的环糊精,10%-20%的有机酸,10%-20%的复合表面活性剂,余量为水;所述环糊精为α-环糊精、β-环糊精、γ-环糊精、羟丙基β-环糊精、甲基化β-环糊精中的一种或两种以上的混合物;所述有机酸为甲酸、乙酸、丙酸、柠檬酸、草酸、马来酸、月桂酸中的一种或两种以上的混合物;所述复合表面活性剂为油酸钠、烷基糖苷、十二烷基硫酸钠、椰子油脂肪酸二乙醇酰胺、脂肪醇聚氧乙烯醚、聚乙二醇中的两种以上的混合物。本发明提供的不锈钢氧化层清洗剂制备方法简单,使用操作方便,使用寿命长,废水产生量少,各组分易生物降解,绿色环保,并且成本低廉。该不锈钢氧化层清洗剂具有替代目前以无机酸为主的不锈钢氧化层清洗剂的潜力。

专利号:201410042410.2


4

一种能转弯的钻头装置

目前市场上的普通钻头都很难实现拐弯功能。而生活中在一些特定的工作场合,人们需要钻一个弯曲的钻孔,但是,我们发现市场上几乎没有这样的钻头或钻头装置,无法方便的满足人们不同的技术需求。

   一种能转弯的钻头装置,包括钻孔组件和用于卡夹待钻孔产品的卡夹组件,所述钻孔组件包括软轴和钻头,所述钻头固定在软轴的左端,所述软轴的右端与电钻钻体的电机轴连接,所述软轴沿着保持架的长度方向布置并通过固定环固定在保持架上,所述保持架的左端设有弯头部分;所述卡夹组件包括左挡块、连接杆和右挡块,所述左挡块与所述右挡块之间通过连接杆连接,所述保持架的弯头部分位于所述连接杆的后方并朝向待钻孔产品。

专利号:201611167003.X


5

一种增强抗摆的桥式吊车调节控制方法

桥式吊车作为一种便利的运输工具而被广泛地应用于车间、码头、港口等场所。目前已有很多学者对桥式吊车的自动控制问题进行额大量的研究,特别地,输入整形方法是一种吊车常用的开环控制方法。然而开环控制方法只能用于没有外界干扰的情形,在外界存在干扰时,开环控制方法的效果会大大降低。对于已有的大部分研究成果,往往只考虑了吊车系统的快速准确定位,很少考虑运送过程中负载摆动的问题。鉴于此,本发明提出了一种增强抗摆的桥式吊车调节控制方法,步骤1、误差信号构造;步骤2、控制目标的确定;步骤3、控制律的确定;步骤4、控制方法的实现。本发明能够极大地提升台车的运送速度与有效地消除负载的摆动,提供整个系统的工作效率与安全性,有着重要的实际应用意义。

专利号:201410327832.4

6

一种薄板焊接残余应力的测量方法

残余应力指没有负载下存在于结构体内的应力,它的产生来自物体非均匀永久变形,如热处理、表面处理、滚压、焊接、铸造等。几乎所有结构体都存在残余应力。焊接构件的残余应力危害较大,一方面工件会降低强度,使工件在制造时产生变形和开裂等工艺缺陷;另一方面又会在制造后的自然释放过程中使工件的尺寸发生变化或者使其疲劳强度、应力腐蚀等力学性能降低。因此,在研究焊接构件的工作性态、承载能力、安全储备等方面,都必须考虑残余应力的影响。

本发明涉及一种薄板焊接残余应力的测量方法,所述测量方法为:首先在焊接件上粘贴两列对称分布的电阻式应变片,并使应变栅的方向与焊缝方向一致,然后沿着垂直于焊缝的方向将焊接件切割成尺寸相同的两部分,使残余应力得到释放;通过观测并且记录两组应变片的读数变化,得到沿焊缝方向释放的两组应变值,并将所得的焊接件两切割面的两组应变值进行数值平均,用EXCEL进行多项式拟合,最后根据胡克定律换算得到沿焊缝方向的原始残余应力分布曲线;本发明的有益效果:测量精度高,能进行多点测量,可靠性高,操作方便,设备成本低。


 专利号:201410019831.3

7

  一种用于改善污泥脱水性能的污泥颗粒化处理工艺

一种用于改善污泥脱水性能的污泥颗粒化处理工艺,包括如下步骤:(1)将污水处理厂污泥置于序批式反应器SBR中,先空曝1-2天;(2)序批式反应器SBR通过设定的选择压,选择压大小是在SBR中污泥的沉淀时间,沉淀时间在好氧活性污泥培养初期2-4天之间设置成1-2小时,培养后期5-7天时沉淀时间设置成30min-1h之间;在培养初期,向序批式反应器SBR内投加微粉,微粉是100-800目的颗粒物质,微粉投加量根据污泥的浓度来确定,占进入反应器好氧活性污泥干重的5%-30%之间,间隔1-2天投加一次微粉来促进污水处理厂污泥的颗粒化。本发明有效提升脱水性能、减少药剂使用量、降低成本。

专利号:201410072135.9

8

一种铜粉置换去除并回收水体中锑的方法

本发明提供了一种铜粉置换去除并回收水体中锑的方法,包括以下步骤:(1 用盐酸将含锑废水的pH值调至0-3,氮气保护下,加入铜粉,密闭反应器,以100-600r/min的速度搅拌反应,反应温度为10-80℃,置换时间为10-120min;所述含锑废水中,SbIII)含量为0.1-30g/L;所述铜粉的质量用量以所述废水的体积计为2.5-100g/L;  2)置换完成后,对反应体系进行过滤,回收滤渣,以及滤液经快速低温重结晶所得的晶体;本发明方法工艺简单,无二次污染,经济环保,实现了资源可再生利用。

专利号:201410781623.7

9

一种河道的净化处理系统及水质净化方法

本发明公开了一种河道的净化处理系统,包括至少一个用于去除水中的氮、磷和有机物的河道生态坝1设置在河道生态坝1后方的曝气装置2收集油类的集油浓缩池7以及将曝气装置中油类隔离的浮动导油装置3,所述浮动导油装置3隔离的油类通过集油管8导入到所述集油浓缩池7中;本发明还涉及一种通过该河道的净化处理系统进行净化水质的方法,结构简单,成本低,可操作性好,能有效去除河道水中的氮、磷、有机物等,以及对河道水中含有的油类物质进行除油处理,使得经处理后的河道水达到排放标准。

专利号:201410015531.8

10

一种利用高浓度印染退浆废水制备纸管胶的方法

本发明提供了一种利用高浓度印染退浆废水制备纸管胶的方法。所述方法为:先测定高浓度印染退浆废水中PVA含量,根据测试的PVA含量,在废水中加入适量PVA原料,使溶液中PVA含量达到7.0-10.0 wt%,再加上高岭土和消泡剂,搅拌下将溶液加热至85-95℃,使原料完全溶解,再控制温度在80-85℃,加入甲醛进行反应,反应一定时间后再加入除醛剂进行反应,最后自然冷却至40℃出料,得到所述纸管胶。该方法不仅实现了退浆废水的“零”排放,而且利用了退浆废水中的PVA原料制备了纸管胶,实现了废物的资源化处理,可广泛应用于高浓度印染退浆废水的处理,具有明显的社会和环境效益;而且本方法制备得到的纸管胶与其他纸管胶水相比,成本低30%左右,具有较好的经济效益。

专利号:201310355694.6

11

一种从废旧锂离子电池中回收锰和铜资源的方法

本发明涉及一种从废旧锂离子电池中回收锰和铜资源的方法:(1)取锰系废旧锂离子电池,首先回收CoNiLiAl等元素,然后分离得到主要含Cu2+Mn2+两种离子的溶液,在该溶液中加入适量稀硫酸调节溶液pH值及导电率,调节后溶液中稀硫酸的浓度为调节好的溶液为电解液,调节阳极电流密度为0.5mA/cm2-50mA/cm2+, 进行电解;(3)电解后,阳极析出MnO2,阴极析出Cu,将阳极析出的MnO2作为产品回收,将阴极析出的Cu置于空气中用稀硫酸喷淋腐蚀,腐蚀后以含Cu2+溶液的形式返回到电解槽中循环利用,电解完成后,所有Cu资源以金属铜的形式回收。本发明的方法大大降低了电解过程的槽电压,大幅降低了能耗。

专利号:201410246379.4


12

 一种基于QT的高速公路养护系统

一种基于QT的高速公路养护系统,包括养护设备,包涵网络连接和SIP通信功能的嵌入式终端,用于向中心平台上传养护事件和工单的执行信息,接受中心平台下发的新工单,并向其他成员设备发起单呼、组呼、群呼任意一种SIP电话呼叫;控制服务器,用于向养护设备和中心平台提供SIP代理服务器的功能借口,接受来自养护设备或中心平台的SIP呼叫请求或者其他功能请求;中心平台,用于负责SIP用户代理,对指定的养护成员设备或设备群组发起SIP电话呼叫和视频监控请求,并且接收来自养护成员设备的SIP电话呼叫,并通过发送SIP消息来下发新工单。本发明及时获取高速公路路况信息、能实现快速分配清除路障任务、方便工作人员管理。

专利号:201611127902.7

13

一种基于Kernel-KNN匹配的道路交通状态获取方法

一种基于Kernel-KNN匹配的道路交通状态获取方法,首先提取具有代表性的道路交通数据,经过数据处理后建立道路交通运行特征参考序列;然后选取道路交通数据序列,并构建道路交通数据序列的Mercer核;最后选取道路交通特征参考数据序列和当前道路交通特征序列,获取道路交通特征参考数据序列和当前道路交通特征序列在特征空间的欧式距离,通过KNN方法选取k个道路交通状态,最后通过加权平均获取道路交通状态。最终实现对道路交通运行状态实时、准确性较好的基于Kernel-KNN匹配的道路交通状态获取方法。

专利号:201410852124.2

14


一种基于视频分析的监控摄像头抖动检测方法



随着监控摄像机数量的不断增加,监控时间的不断延长,给视频监控系统特别是摄像头的维护工作带来了新的挑战,若摄像头不能得到及时维护,其监控作用将得不到正常发挥,从而影响其安全保障作用。本发明公开了一种基于视频分析的监控摄像头抖动检测方法,通过标记全局特征点进行匹配,本发明能将视频图像中部分物体发生移动与视频抖动区分开来,从而提高抖动检测的准确率。

专利号:201410419771.4

15

基于Wi-Fi指纹的考勤方法及系统

本发明公开了一种基于Wi-Fi指纹的考勤方法,并且公开了将该考勤方法应用在教学中的课堂考勤方法,包括以下步骤:教师终端采集教室内的Wi-Fi指纹;学生终端提交Wi-Fi指纹或请假申请;教师终端审核请教申请;学生终端自上课开始后每隔一段时间自动上传Wi-Fi指纹,直至下课;服务器执行指纹匹配算法和进行出勤状态判断。本发明还公开了一种实施该方法的系统。利用本发明的方法及系统,无需增加特殊硬件设备,可以大大减少代人签到的可能,可以自动识别学生迟到、早退、旷课、请假等各种情况,提供更全面的学术考勤记录。

专利号:201410344768


16

公交车多传感器火灾检测方法

公交车多传感器火灾检测方法,采用一氧化碳传感器、二氧化碳传感器、温度传感器、烟雾传感器、电流传感器、火焰传感器,通过对采集连续数据的离散化获取的支持向量机模型,得出每一个传感器所检测到公交车发生火灾危险的概率,最后通过D-S证据理论对所有传感器检测结果进行信息融合,分别计算多传感器信息融合后公交车发生火灾危险的概率分配函数,并通过公交车发生火灾危险的概率做出预警提示。

专利号:201410382574.X

17

基于机器视觉的智能化自动切割式采茶机及工作方法

茶叶采摘有很强的季节性,周期短,劳动强度高,属劳动密集型作业。目前,我国茶叶采摘和用工的矛盾已成为茶产业发展的瓶颈。目前采茶机大多都是针对大宗茶采摘鲜叶而生产的,这类采茶机采摘效率高,但其缺乏选择性,一刀切下,使得芽叶大小不一,完整性较差,而且对茶树的机械性损伤较大,同时采摘叶老嫩混杂,一定程度上影响了采茶机的推广使用。因此,自动化智能化的茶叶采摘机械是茶叶行业的迫切需求。

本发明公开了一种基于机器视觉的智能化自动切割式采茶机,一种基于机器视觉的智能化自动切割式采茶机,其特征在于,包括具有多轮防颠簸行走机构的采茶机本体;所述的采茶机本体包括自适应动态平衡台,安装在自适应动态平衡台上的割刀和视觉传感器,用于收集切割后的嫩叶的集茶装置,以及用于各机构动作控制的操作与控制系统。本发明还公开了基于机器视觉的智能化自动切割式采茶机的工作方法,通过对图像的分析处理,自动调整割刀的位置,使得切割刀具的圆弧形切割线与圆弧形茶陇蓬面上的嫩芽层相吻合,以实现茶陇蓬面上的嫩茶层在横向方向上的精确切割。

专利号:201410216471.6



18

适用于多性状不同批次的茶叶的连续萎凋流水线实现方法

本发明公开了一种用于茶叶自动化生产线的茶叶萎凋加工方法,将茶叶传送带进行物理分隔成多个加工单元,再将每个上述加工单元沿茶叶传送带进行理论分割,分割成N份,每份作为一个理论加工小格,对每个理论加工小格的萎凋加工参数值进行测量,然后计算每一加工单元的萎凋加工参数加权平均,利用该加工参数加权平均加工后移动一个理论加工小格的距离再次进行、检测、测量、计算加权平均操作,循环至茶叶全部加工完毕。本发明克服了现有加工方法中加工边做茶的原始加工方法和单一生产线生产单一性状茶的缺陷,经过适时检测可以针对不同的加工工艺给出最恰当的加工方法,提高了加工效率,实现了茶叶自动化流水线生产。

专利号:201410484349.7

19


纳米氧化镁作为膨胀剂在水泥基材
料中的应用


在凝结和硬化过程中,除膨胀水泥外的硅酸盐系列水泥及其配制而成的水泥浆、砂浆和混凝土均具有自生体积的收缩、干缩和由水化热而引起的冷缩,特别是大体积混凝土(如大坝)这些收缩尤其突出,以致引起大坝开裂、降低耐久性和使用寿命。

本发明公开了纳米氧化镁作为膨胀剂在水泥基材料中的应用,所述的应用方法是,纳米氧化镁在水泥基材料中作为膨胀剂时,所述的纳米氧化镁的掺入质量以所含氧化镁质量计为水泥基材料中胶凝材料质量的1%-10%;利用纳米氧化镁作为膨胀剂的优点在于:氧化镁颗粒尺寸在1nm-100nm,在1%-10%掺量范围内产生均匀和稳定的体积膨胀,不会产生体积安定性不良问题,不同温区间制得的不同膨胀性能的纳米氧化镁可掺配使用,制得性能更好的膨胀剂。

专利号:201410041756


20

一种蜂王浆微胶囊的制备方法

 蜂王浆是工蜂分泌的主要用于饲喂蜂王和蜂幼虫的乳白色、浅黄色或浅橙色浆状物质。它有极强的保健功能和医疗效用,是介于食品与药品之间的纯天然保健食品。粘浆状态的王浆,品尝时有明显的酸、涩、辛辣和甜味感,上颚和咽喉有刺激感,对咽喉刺激较大。所以有些人对王浆的味道不适应,王浆中的酸性物质对咽喉的刺激导致呕吐甚至产生“拉肚子”。 蜂王浆微胶囊化,可以隔离王浆与外界的接触,保护敏感性成分,掩盖不良风味,降低挥发性,延长保质期。

本发明公开了一种蜂王浆微胶囊的制备方法:制备含0.015-0.025g/mL的蜂王浆的水溶液作为原料液待用;配制含有5-15mg/mLCaCl­22.5-7.5mg/mL的壳聚糖、0.15g/mL的蜂王浆的混合液、pH值为4.5-6.0,离心后取上清液作为凝胶浴;将原料液通过蠕动泵输送到碰头正极,在碰头垂直下方、凝胶浴的上方设一中间打洞的不锈钢圆片作为负极,原料液由碰头喷入凝胶浴中,在凝胶浴中形成海藻酸钙微胶珠,经抽滤、水洗、冷冻干燥即可制得所述蜂王浆微胶囊。本发明方法制备温度低,时间段,蜂王浆微胶囊冻干粉吸湿性降低,且激性气味明显下降,微胶囊可耐受胃环境而在小肠释放。

专利号:201410109759.3

科技改变生活

创新引领发展




友情链接

Copyright © 2023 All Rights Reserved 版权所有 北京物流信息联盟